

· 2022智慧城市先锋榜 ·
2022智慧城市先锋榜作为中国智慧城市领域的重要活动之一,备受社会各界的认可和参与。现陆续将初评入围先锋榜的案例进行公示。
★
★ ★ ★
★
·2022智慧城市先锋榜·入围案例
数字孪生BIM智慧楼宇综合管控平台
吕昌昌、刘莉君、李天宇
上海闲猫资产
青岛海纳云数字科技有限公司
一、案例背景
在推进“新基建”的大背景下,人工智能、物联网等先进技术与基础设施深度融合,为智能建筑的发展与应用发展带来巨大的契机。随着楼宇经济的蓬勃发展,智能楼宇化越来越成为中国建设智慧城市的重要组成部分,得到了国家和政府的大力支持,加之社会需求的大幅增加,为楼宇智能化带来了广阔的发展空间和前景,智能楼宇已经成为未来建筑行业的发展趋势。
根据2021年12月由美控智慧建筑联合亿欧智库共同发布的《中国楼宇自控白皮书》,2021年中国楼宇智能化市场产值约达为7238.2亿元,结合近几年行业的发展趋势,经过初步估算,2016-2021年中国楼宇智能化市场规模逐年上升,存量规模接近5000亿元而新增规模超过2200亿元。因楼宇智能化在低碳、节能方面优势突出,同时能为人们生活带来更多舒适体验,加之政府对楼宇智能化建设规范化、科学化的引导,未来楼宇智能化发展前景较好。
数字孪生建筑利用物理建筑模型,使用各种传感器全方位获取数据的仿真过程,在虚拟空间中完成映射,以反映相对应的实体建筑的全生命周期过程。
智慧建筑依托物联网技术,使建筑实现在更高层次上的信息化、服务化、智慧化,它不仅是功能的拓展,更是服务的延伸。也是信息技术与传统建筑的完美结合,将设备,设施,通信、安保、消防的管理系统的动态数据接入并管理。
二、应用内容
1、总体架构

图1 智慧楼宇孪生平台架构
依托AIoT、数字孪生,结合大数据、云计算等先进技术,为城市治理基本单元——楼宇,打造了一套基于BIM数字孪生的综合管理服务平台。该平台着力解决楼宇管理信息化程度低、能耗控制难、碳排放量高、运维成本高、管理颗粒度粗、管理死角多等痛点,利用BIM数字孪生实现了楼宇全空间、全要素、全流程可视化运维管理,即“全状态感知、全空间智能,状态可视、作业可管、运营可控”。整个系统平台涵盖“能源能耗、便捷出行、物业招商、设备设施、环境空间、安防消防”等六大场景的智能管控,平台创新利用AI技术实现自主学习,为运维人员提供了完善的智能辅助决策能力,为用户、访客提供了便捷、舒适、高效的办公生活体验。
2、建设内容
能源能耗:为强化节能减排带来的收益,数字孪生平台依托海纳云AIOT对建筑进行实时能源监测,传感器设备和网器联动,实现能耗数据采集存储、能耗上传、统计分析、能耗预测、节能诊断、数据转发等系列功能,逐步实现能源精细化管理,降低能源消耗总量,提高能源利用率,达到能耗双控的目的。
便捷出行:云托管出行即利用云平台+移动端小程序+远程后台+移动岗同时协作,实现停车流程智能化,人员出入精细化管理,能够有效提升楼宇同行效率及车位使用效率。
物业招商:精准招商,降本增效;招商管理集招商项目管理、客户管理、合同管理为一体。针对性的解决了楼宇招商的“获客难、获客成本高、房源更新不及时”三大痛点,实现了“招商管理精细化、多渠道营销、房源管理实时可视化”,有效的提高招商团队工作效率,提升决策人员的决策能力。
设备设施:设施管理为楼宇中非状态类设备的管理板块,维护设备的基础信息以及设备状态信息,实现设备的集中控制以及设备智能AI托管(系统自动执行节能标准策略,并可自动按照时间段开启和关闭设备);电梯状态以及乘梯人数和电梯所在层数的数据采集,方便对电梯进行维保和处理紧急事故。
环境空间:通过Unity 3D展示楼宇空间、环境。可直接在模型中划分权限区域,对区域进行管理,同时包含会议室管理和工位管理,将会议室预约审核、会议室查询、工位绑定、工位查询相结合,形成完整的空间管控;楼宇环境采用多点监测的方式采集数据,通过算法分析计算当前空气质量是否达标,打造健康办公场景。
安防消防:为了打造安全的楼宇空间,将摄像头、消防设备、各类传感器等设备统筹管控,形成场景闭环。通过设备告警联动摄像头,映射到3D模型的真实场景位置,及时定位消防、安防报警点,并可将告警内容派发至安保人员形成快速闭环。
三、创新点
1、部署方式创新
海纳云通过自研的数字孪生平台,实现SaaS化系统的部署,当其他楼宇也需要智能化管理时,可以快速部署一套系统,安全性高,成本低,稳定性好,为使用者提供了良好的用户体验。
2、嵌入算法创新
在使用过程中投入大量算法,结合大数据的方式,能够及时对可能出现的问题产生预警,便于维保人员及时排查,规避风险。
3、楼宇管控方式创新
可视化大屏结合控制台为楼宇管理人员提供全方位的宏观实时监控,小程序便于运维人员针对任务快速查看处理,通过权限及端口分离,实现楼宇智能管控的整体正常运转。
4、楼宇管控结合数字孪生技术创新
虚实映射将楼宇的物理对象通过BIM技术转换成虚拟的数字镜像,增加了管控的精细程度及运营效率。实时同步基于各类智能硬件,孪生体可全面、精准、动态反映物理对象的状态变化,包括外观、性能、位置、异常。闭环优化基于分析与仿真对物理世界形成优化指令或策略,实现对物理实体决策优化功能的闭环。
四、应用成效
1、驾驶舱
1.1 综合态势
综合大厦各个业务单元能力,对楼宇安防、能效、通行、环境、资产、设备设施等功能领域通过数据可视化呈现的方式全局管理,宏观管控,增强大厦以人为本的环境氛围。

图2 可视化大屏综合态势
1.2 产业态势
通过构建产业链图谱、产业分布清单、龙头企业清单、产业链技术清单于一体的产业感知指标体系,通过可视化展示监测产业指标数据变化情况,研判产业态势发展趋势,及时掌握楼宇产业发展状态。

图3 可视化大屏产业态势
1.3 安防消防
集大厦视频监控,巡更系统,门禁系统,消防系统等,绘制综合安防网络,各系统间充分联动,有效调配设备和人力资源,结合数字孪生技术极大提高智能安防可靠性及反应速度。
通过iot设备识别,能够对楼宇进行范围管理,对于各类告警事件进行24小时全程监控,能够准确定位,快速行动。
在楼宇应急事件中,对于楼宇的全方位把控,智能化调度及部署存在信息不协调、指挥调度不可视,逃生疏散有隐患等问题。通过对于应急预案的智慧化可视管控后,能够实现事先通知协调,合理疏散人群统一调度及门禁的统一化控制,保障楼宇的安全稳定。

图4 可视化大屏安防消防
1.4 便捷出行
收集整理大厦来往人员及车辆信息,集成闸机、道闸等前端物联设备,结合地理信息能力对楼宇人、车通行权限、车辆停放、行动空间进行全方位管理,使被授予权限的人员及车辆通行顺畅,无感通行。
高峰时段访客排队登记现象频发,严重影响访客管理效率,可通过自助终端,手机APP自动进行访客信息登记,根据访客需要到达的区域,系统自动释放相关门禁,道闸,梯控等权限。
系统采用车牌识别技术,自动控制道闸来管理车辆出入,具备自动停放监控及统计功能,系统可自动辨识车辆停放位置,记录停放信息,解决现有停车场管理系统智能化水平较低,楼宇办工人员的停车需求及车位示意效率之间的矛盾日益凸显的问题。

图4-4可视化大屏便捷出行
1.5 能源管理
能效管理是能将大厦的变配电、照明、电梯、空调、供热、给排水等能源使用情况,实行集中监控、管理,分析设备运行数据库和能耗的关系,进行数据挖掘,定期评估设备能耗性能饼加以改进,使各建筑能耗设备系统在不同工况下高效运行,实现进一步优化节能的目标。

图6 可视化大屏能源管理
1.6 环境空间
对于楼宇而言,合理的解决楼宇的环境空间尤为重要,对楼宇内所有房间进行IP化管理,对每栋楼、每层楼,都能掌握其温度,湿度,空气质量,对每层楼的环境使用问题做到人员数量可视化,温度变化可视,办公区及会议室使用情况可视化,满足现代化楼宇智慧化的建设,解决了楼层空间的合理利用,环境的健康绿色。

图7 可视化大屏环境空间
7. 设备管理
通过智能化资产管理,能够对资产的情况进行全局查看,快速查找,异常跟踪,保障楼宇财产安全。
设施设备告警,对传统设备的iot化解决了人员投入管理的问题,实现对问题快速诊断,异常情况处理的快速调配。

图8 可视化大屏设备管理
2、控制台
2.1 运营方管理
作为Saas化的楼宇管理系统,每个使用系统的企业都作为一个独立的运营方,运营方之间数据隔离,权限自管,主账号可以对运营方的账号增删改查操作,功能分为:添加运营方,楼宇编辑,运营方管理员信息管理,运营方删除。

图9 控制台运营方管理
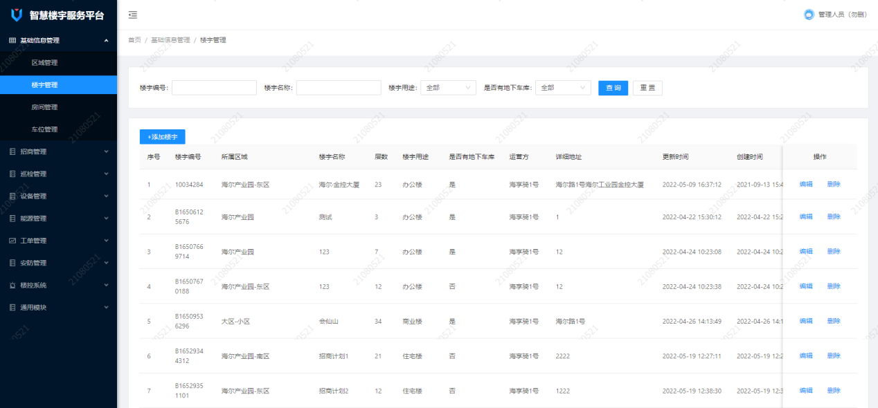
2.2 楼宇管理
楼宇管理模块分为“楼宇管理”、“区域管理”、“车位管理”;楼宇管理功能主要是运营方可以对自己的楼宇的信息进行添加维护。

图10 控制台楼宇管理
2.3 区域管理
运营方针对自己的实际业务,对管理的楼宇进行区域划分,在楼宇招商,告警定位等方面管理更为精确。

图4-10控制台区域管理
2.4 物业通知
物业人员可以通过物业通知模块线上下发通知至对应的人员,和以往张贴通知或微信通知的方式不同,该方式能够保证传递信息更及时,传递信息更准确。

图12 控制台物业通知
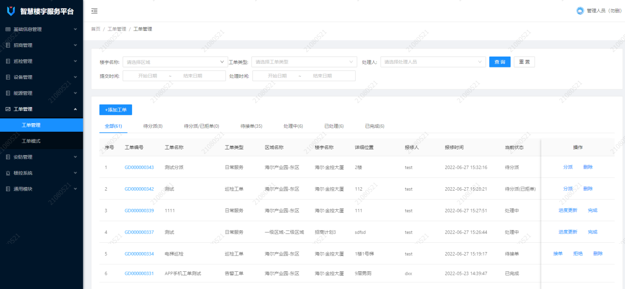
2.5 工单管理
物业人员在使用过程中,发现需要进行维保的项目,可以形成工单派发至运维人员端,运维人员在线接单,处理,反馈处理结果,运维人员对信息进行跟踪,确保运维人员快速相应,高效处理。

图13 控制台工单管理
2.6 能源概况
能耗概览功能为楼宇整体能源消耗一览,从该页面可以全局的了解楼宇的使用情况,包含用电/用水趋势,定额使用情况,区域能耗,分时能耗,分项用电,用电预测等功能。

图14 控制台能耗概况
2.7 能耗分析
通过物联网采集往期数据,结合算法,加以天气/节假日/设备的损耗情况等外界因素来针对楼宇用电用水量进行预测,运维人员可以合理规划资源,使能源的使用更高效,能耗异常出现问题时展示的更直观。

图15 控制台能耗分析
2.8 节能策略
在楼宇日常使用过程中,存在很多用电浪费情况,功能支持设置多种设备关联形成节能策略,设备可以根据当前的环境空间进行实时监测,根据环境进行调整能耗策略,从而减少能源浪费。

图16 控制台节能策略
2.9 告警管理
针对使用过程中产生的一系列告警信息,依据我们的告警规则进行等级划分,类型划分,运维人员收到告警信息后,可以快速排查原因;展示预警出现的频次可以方便运维人员针对设备的稳定性进行评估。

图17 控制台告警管理
2.10 云自检管理
针对空间使用情况,秉承数字孪生的理念,形成了一套可高度自定义的空间漫游与云自检体系,通过智慧大脑对设备点位的模拟及云计算的数据分析,用户可自定义设备巡检路线,定时自动巡检排查设备及设施的运行情况,并可及时反馈。

图18 控制台云自检管理
11.安防管理
传统安防系统主要依赖于人工监控,由于安保事件的突发性,受安保人员注意力等人为因素影响太大,存在未能及时发现或发现不及时的隐患,通过IOT设备识别,能够对楼宇进行范围管理,对于各类告警事件进行24小时全程监控,精准定位,快速行动。

图19 控制台安防管理
五、社会效益
1、创造智能环境
智慧楼宇系统通过应用智能化技术,在空气系统、用水系统、声光系统等方面,创造一个符合生态、环保、健康型的居住环境,达到亲和自然,可持续发展的要求。
2、促进节约能源
节约能源,响应国家节能减排的政策,以最小的能量消耗代价、取得最大的经济和社会效益,不仅是智慧楼宇追求的目标,同时也是智能化最重要、最显著的功能。
3、加强安全防范
智慧楼宇系统为了加强大厦、小区的安全技术防范,专门设置了由电子计算机控制和管理的火灾防范、电视监控、防盗报警等系统,以完成多层次、全天候的防灾、防盗、防非法入侵任务。
4、提供信息服务
智慧楼宇的信息服务功能,对建设者和使用者来说,都是一个热点问题。利用云计算技术实现整体的管理和控制,提供全方位的信息交换功能,帮助楼宇内单位与外部保持信息交流畅通。
5、实现智能管理
现代楼宇包括大厦、小区管理的科学化、程序化、网络化、电子化,这也是当今物业管理的重要课题。智慧楼宇管理系统已经和正在发挥着积极的作用。如采用计算机进行管理、协调、收费、考勤、调控、监管、防卫等各项业务。